| key | PART NO. | PART NAME | QTY | SERIAL NO. | REMARKS | |
|---|---|---|---|---|---|---|
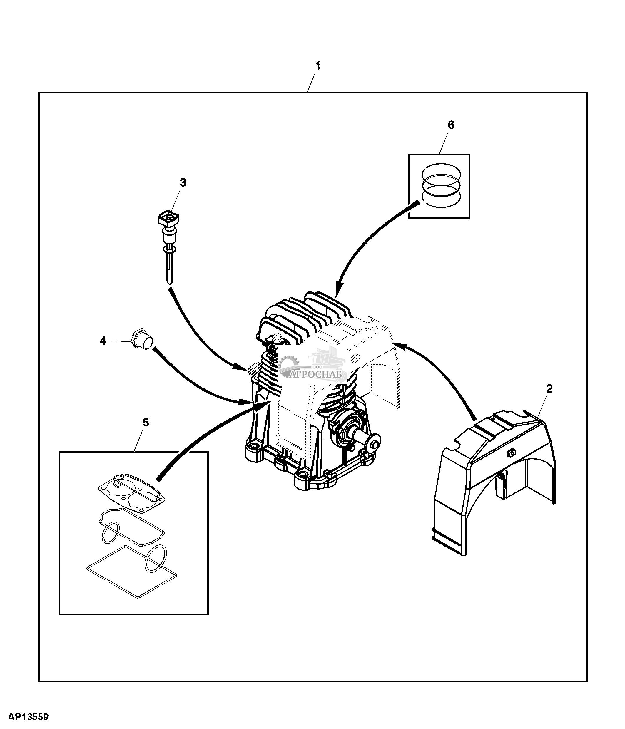
| 1 | AA76940 | Компрессор | 1 | |||
| 2 | AA76970 | Корпус фильтра | 1 | |||
| 3 | M47887 | Гайка-барашек | 1 | |||
| 4 | T167683 | Шайба | 1 | |||
| 5 | AA79694 | Муфта | 1 | SUB FOR H234293 | ||
| 6 | H234294 | Крестовина | 1 | |||
| 7 | 24M7445 | Шайба | 1 | 8.400 X 36 X 4 mm | ||
| 8 | A91373 | Щиток | 1 | |||
| 9 | A91807 | Щиток | 1 | |||
| 10 | AA77472 | Кронштейн | 1 | |||
| key | PART NO. | PART NAME | QTY | SERIAL NO. | REMARKS | |
| 11 | A91304 | Фитинг переходника | 1 | |||
| 12 | A91404 | Трубная гайка | 2 | |||
| 13 | 19M10383 | Винт с головкой | 1 | M8 X 25 | ||
| 14 | A91382 | Труба | 1 | |||
| 15 | A91384 | Фитинг | 2 | |||
| 16 | A96526 | Фильтрующий элемент | 1 | SUB FOR A91375 | ||
| 17 | 19M7867 | Винт | 11 | M8 X 25 | ||
| 18 | 14M7298 | Фланцевая гайка | 7 | M8 | ||
| 19 | 19M7786 | Винт | 4 | M10 X 30 | ||
| 20 | 14M7296 | Фланцевая гайка | 10 | M10 | ||
| key | PART NO. | PART NAME | QTY | SERIAL NO. | REMARKS | |
| 21 | 19M7804 | Винт | 4 | M10 X 40 | ||
| 22 | A61109 | Кнопка | 1 | |||
| 23 | 38H1160 | Фитинг переходника | 1 | |||
| 24 | N401896 | Метка | 1 | |||
| 25 | AA77588 | Расходный гидр. клапан | 1 | |||
| 26 | 38H1162 | Фитинг переходника | 1 | |||
| 27 | 38H1161 | Фитинг переходника | 1 | |||
| 28 | R26448 | Уплотнительное кольцо | 1 | |||
| 29 | 38H1009 | Коленчатый патрубок | 1 | |||
| 30 | RE60700 | Диагностическая муфта | 1 | |||
| key | PART NO. | PART NAME | QTY | SERIAL NO. | REMARKS | |
| 31 | T77814 | Уплотнительное кольцо | 1 | |||
| 32 | R122371 | Тройник | 1 | |||
| 33 | A92037 | Фитинг переходника | 1 | |||
| 34 | X216P-6 | Ниппель с резьбой | 1 | |||
| 35 | A94544 | Обратный клапан | 1 | SUB FOR A91972 | ||
| 36 | 15H623 | Трубная заглушка | 1 | 3/8" | ||
| 37 | R26906 | Уплотнительное кольцо | 1 | |||
| 38 | T77932 | Уплотнительное кольцо | 1 | |||
| 39 | R26448 | Уплотнительное кольцо | 3 | |||
| 40 | T77613 | Уплотнительное кольцо | 1 | |||
| key | PART NO. | PART NAME | QTY | SERIAL NO. | REMARKS | |
| 41 | R26375 | Уплотнительное кольцо | 1 | |||
| 42 | T77857 | Уплотнительное кольцо | 1 | |||
| 43 | 15H621 | Коленчатый патрубок | 1 | 3/4" | ||
| 44 | 19M7662 | Винт с головкой | 8 | M10 X 30 | ||
| 45 | N375287 | Тройник | 1 | |||
| 46 | AA84375 | Гидроаккумулятор | 1 | |||
| 47 | AA77587 | Гидравлический мотор | 1 | |||
| 48 | A91376 | Вентилятор | 1 |
| key | PART NO. | PART NAME | QTY | SERIAL NO. | REMARKS | |
|---|---|---|---|---|---|---|
| 1 | AA76940 | Компрессор | 1 | |||
| 2 | A91839 | Щиток | 1 | |||
| 3 | A91849 | Щуп | 1 | |||
| 4 | A91850 | Указатель уровня | 1 | |||
| 5 | A91846 | Комплект прокладок | 1 | |||
| 6 | A91851 | Комплект колец поршня | 2 |
| key | PART NO. | PART NAME | QTY | SERIAL NO. | REMARKS | |
|---|---|---|---|---|---|---|
| 1 | AA77587 | Гидравлический мотор | 1 | |||
| H64373 | Шпонка вала | 1 | ||||
| AA77163 | Комплект уплотнений | 1 | ||||
| 2 | AA77588 | Расходный гидр. клапан | 1 | |||
| 3 | R69667 | Уплотнительное кольцо | 1 | |||
| 4 | RE186846 | Комплект уплотнений | 1 | USE WITH AA77167 | ||
| 5 | R26906 | Уплотнительное кольцо | 2 | |||
| 6 | R28776 | Уплотнительное кольцо | 1 | |||
| 7 | R186864 | Защитное кольцо | 2 | |||
| 8 | RE186843 | Комплект уплотнений | 1 | USE WITH RE175016 | ||
| key | PART NO. | PART NAME | QTY | SERIAL NO. | REMARKS | |
| 9 | R28782 | Уплотнительное кольцо | 1 | |||
| 10 | R34802 | Уплотнительное кольцо | 1 | |||
| 11 | T17951 | Уплотнительное кольцо | 1 | |||
| 12 | RE271692 | Электромагн. гидр. клапан | 1 | |||
| 13 | AA77165 | Электрическая обмотка | 1 | |||
| 14 | AA77167 | Расходный гидр. клапан | 1 | |||
| 15 | RE175016 | Обратный клапан | 1 | |||
| 16 | A73182 | Трубная заглушка | 2 | |||
| 17 | 19H2928 | Винт | 4 | 5/16" X 1-1/2" | ||
| 18 | R26448 | Уплотнительное кольцо | 6 |
| key | PART NO. | PART NAME | QTY | SERIAL NO. | REMARKS | ||
|---|---|---|---|---|---|---|---|
| 1 | AA73979 | Бак | 1 | Set Point Pneumatic Down Force | |||
| 2 | A89517 | Коленчатый патрубок | 1 | ||||
| 3 | A92264 | Щиток | 1 | Valve Assembly, SUB FOR A89515 | |||
| A92264 | Щиток | 1 | |||||
| 4 | A89514 | Фитинг | 1 | Connector, Special | |||
| 5 | AT13740 | Сливной клапан | 1 | ||||
| 6 | 14M7303 | Фланцевая гайка | 2 | M6 | |||
| 7 | 19M7791 | Болт | 4 | M12 X 40 | |||
| 8 | 14M7401 | Стопорная гайка | 4 | M12 | |||
| 9 | 19M7867 | Винт | 4 | M8 X 25 | |||
| key | PART NO. | PART NAME | QTY | SERIAL NO. | REMARKS | ||
| 10 | 14M7396 | Стопорная гайка | 6 | M8 | |||
| 11 | 19M7163 | Винт с головкой | 2 | M8 X 25 | |||
| 12 | 14M7273 | Гайка | 2 | M8 | |||
| 13 | ...... | Шланг | AR | MFA89903 | |||
| 14 | A89887 | Пластина | 1 | - | 745100 | ||
| A91305 | Пластина | 1 | 745101 | - | |||
| 15 | 19M7862 | Винт | 2 | M6 X 20 |
| key | PART NO. | PART NAME | QTY | SERIAL NO. | REMARKS | ||
|---|---|---|---|---|---|---|---|
| 1 | AA88062 | Клапан | 1 | SUB FOR AA73978 | |||
| 2 | A89507 | Катушка эл/магн. клапана | 2 | ||||
| 3 | A89509 | Рукоятка | 1 | Selector Valve | |||
| 4 | A57900 | Клапан | 1 | Fill | |||
| 5 | RE188381 | Датчик давления | 1 | Air Spring | |||
| 6 | A89511 | Редукционный клапан | 1 | Air Spring | |||
| 7 | A89512 | Редукционный клапан | 1 | Tank | |||
| 8 | A89513 | Переключатель давления | 1 | Compressor Presuure | |||
| 9 | H26723 | Заглушка | 3 | ||||
| 10 | A58815 | Заглушка | AR | - | 740100 | ||
| key | PART NO. | PART NAME | QTY | SERIAL NO. | REMARKS | ||
| A89925 | Заглушка | AR | 740101 | - | |||
| 11 | AA82061 | Индикатор давления | 1 | ||||
| 12 | AA91920 | Клапан | 2 | (C) SUB FOR AA88061 OR AA87254 OR AA82829 | |||
| 13 | A98170 | Инструмент | 2 | (A) | |||
| 14 | AA82830 | Комплект указателей | 2 | (B) | |||
| 15 | AA91626 | Клапан | 1 | (D) USE WITH AA91920 |
| key | PART NO. | PART NAME | QTY | SERIAL NO. | REMARKS | |
|---|---|---|---|---|---|---|
| 1 | 14M7400 | Стопорная гайка | 1 | M10 | ||
| 2 | AA87131 | Ручной клапан | 1 | Oil Drain | ||
| 3 | A89514 | Фитинг | 1 | |||
| 4 | A89513 | Переключатель давления | 1 | |||
| 5 | AA87235 | Жгут проводов | 1 | |||
| 6 | A103834 | Щиток | 1 | |||
| 7 | 19M9473 | Винт | 4 | M4 X 20 | ||
| 8 | A57900 | Редукционный клапан | 1 | |||
| 9 | RE188381 | Датч. давл. транс. масла | 2 | |||
| 10 | A89511 | Редукционный клапан | 1 | |||
| key | PART NO. | PART NAME | QTY | SERIAL NO. | REMARKS | |
| 11 | A89507 | Катушка эл/магн. клапана | 2 | |||
| 12 | AA86110 | Клапан | 1 | |||
| 13 | A104594 | Клапан | 1 | |||
| 14 | A89512 | Редукционный клапан | 1 | |||
| 15 | AA82061 | Индикатор давления | 1 | |||
| 16 | AA86108 | Клапан | 1 | |||
| 17 | A103231 | Торцевая пластина | 2 | |||
| 18 | 19M7981 | Винт с головкой | 4 | M8 X 55 | ||
| 19 | 24M7238 | Шайба | 8 | 8.700 X 17 X 2 mm | ||
| 20 | 19M7407 | Винт с головкой | 4 | M8 X 25 | ||
| key | PART NO. | PART NAME | QTY | SERIAL NO. | REMARKS | |
| 21 | A104614 | Крышка выхлопной трубы | 1 | |||
| 22 | 14M7400 | Стопорная гайка | 4 | M10 | ||
| 23 | 19M7662 | Винт с головкой | 6 | M10 X 30 | ||
| 24 | 24M7028 | Шайба | 6 | 10.500 X 20 X 2 mm | ||
| 25 | A103232 | Кронштейн | 1 |
| key | PART NO. | PART NAME | QTY | SERIAL NO. | REMARKS | |
|---|---|---|---|---|---|---|
| 1 | 19M9473 | Винт | 4 | M4 X 20 | ||
| 2 | A57900 | Редукционный клапан | 1 | |||
| 3 | RE188381 | Датч. давл. транс. масла | 2 | |||
| 4 | A89511 | Редукционный клапан | 1 | |||
| 5 | A89507 | Катушка эл/магн. клапана | 2 | |||
| 6 | AA86110 | Клапан | 1 | |||
| 7 | A104594 | Клапан | 1 | |||
| 8 | 19M7981 | Винт с головкой | 4 | M8 X 55 | ||
| 9 | A89514 | Фитинг | 1 | |||
| 10 | AA87239 | Жгут проводов | 1 | |||
| key | PART NO. | PART NAME | QTY | SERIAL NO. | REMARKS | |
| 11 | 19M7662 | Винт с головкой | 6 | M10 X 30 | ||
| 12 | 24M7028 | Шайба | 6 | 10.500 X 20 X 2 mm | ||
| 13 | A89512 | Редукционный клапан | 1 | |||
| 14 | AA82061 | Индикатор давления | 1 | |||
| 15 | AA86108 | Клапан | 1 | |||
| 16 | 19M7407 | Винт с головкой | 4 | M8 X 25 | ||
| 17 | A104614 | Крышка выхлопной трубы | 1 | |||
| 18 | 24M7238 | Шайба | 8 | 8.700 X 17 X 2 mm | ||
| 19 | A103231 | Торцевая пластина | 2 | |||
| 20 | A103834 | Щиток | 1 | |||
| key | PART NO. | PART NAME | QTY | SERIAL NO. | REMARKS | |
| 21 | A89513 | Переключатель давления | 1 | |||
| 22 | ...... | Гайка | nul | |||
| 23 | A107182 | Коленчатый патрубок | 2 | |||
| 24 | T15712 | Уплотнительное кольцо | 3 | |||
| 25 | AA86109 | Клапан | 1 |
| key | PART NO. | PART NAME | QTY | SERIAL NO. | REMARKS | |
|---|---|---|---|---|---|---|
| 1 | 14M7396 | Стопорная гайка | 4 | M8 | ||
| 2 | 19M7868 | Винт | 4 | M8 X 30 | ||
| 3 | AA84428 | Кронштейн | 1 | |||
| 4 | 19M8035 | Винт с головкой | 2 | M16 X 35 | ||
| 5 | AA77938 | Бак | 1 | (A) | ||
| 6 | AA76945 | Бак | 1 | (B) | ||
| 7 | A91383 | Коленчатый патрубок | 1 | |||
| 8 | A89517 | Коленчатый патрубок | 1 | USE WITH AA77938 | ||
| 9 | N209334 | Метка | 1 | Air Tank Drain | ||
| 10 | A89518 | Метка | 1 | Caution | ||
| key | PART NO. | PART NAME | QTY | SERIAL NO. | REMARKS | |
| 11 | A90364 | Метка | 1 | Warning | ||
| 12 | AT13740 | Сливной клапан | 1 |
| key | PART NO. | PART NAME | QTY | SERIAL NO. | REMARKS | |
|---|---|---|---|---|---|---|
| 1 | 14M7275 | Гайка | 2 | M12 | ||
| 2 | 19M8112 | Винт | 2 | M12 X 55 | ||
| 3 | AA72119 | Компрессор | 1 | |||
| 4 | AA76117 | Комплект уплотнений | 1 | Includes 4 Brass Bushin gs and 4 Rubber Grommets | ||
| 5 | AA73783 | Жгут проводов | 1 | |||
| 6 | RE52665 | Реле | 1 | |||
| 7 | AA73943 | Шланг | 1 | |||
| 8 | A89454 | База | 1 | |||
| 9 | A89455 | Щиток | 1 | |||
| 10 | A89906 | Обратный клапан | 1 | |||
| key | PART NO. | PART NAME | QTY | SERIAL NO. | REMARKS | |
| 11 | A89925 | Заглушка | 1 | |||
| 12 | A92228 | Фитинг | 1 | |||
| 13 | RE258807 | Обвязной хомут | 2 | |||
| 14 | 14M7272 | Гайка | 5 | M6 | ||
| 15 | 19M7775 | Винт | 5 | M6 X 16 | ||
| 16 | AA73945 | Корпус фильтра | 1 | |||
| 17 | A89458 | Фильтрующий элемент | 1 | |||
| 18 | A92229 | Фитинг | 1 | |||
| 19 | A92230 | Кронштейн | 1 | |||
| 20 | P41858 | Уплотнение | 1 | |||
| key | PART NO. | PART NAME | QTY | SERIAL NO. | REMARKS | |
| 21 | AA84425 | Кронштейн | 1 | |||
| 22 | 14M7397 | Стопорная гайка | 4 | M6 | ||
| 23 | 19M7863 | Винт | 4 | M6 X 25 | ||
| 24 | A90364 | Метка | 1 | |||
| 25 | 14M7264 | Стопорная гайка | 6 | M4 | ||
| 26 | 21M7369 | Винт | 6 | M4 X 25 | ||
| 27 | 24M7138 | Шайба | 4 | 5.300 X 15 X 1 mm | ||
| 28 | 24M7112 | Шайба | 2 | 15 X 28 X 3 mm | ||
| 29 | M47887 | Гайка-барашек | 1 | |||
| 30 | T167683 | Шайба | 1 |
| key | PART NO. | PART NAME | QTY | SERIAL NO. | REMARKS | |
|---|---|---|---|---|---|---|
| 1 | A88076 | Коленчатый патрубок | 10 | |||
| 2 | 14M7297 | Гайка | 2 | M5 | ||
| 3 | A89924 | Тройник | 2 | |||
| 4 | A89909 | Коллектор | 1 | |||
| 5 | 19M8834 | Винт с головкой | 2 | M5 X 45 | ||
| 6 | A101401 | Фитинг | 4 | |||
| 7 | H77698 | Обвязной хомут | 30 | |||
| 8 | ...... | Шланг | AR | CTL AR, MF A89903 | ||
| 9 | N380408 | Скоба | 1 | |||
| 10 | A89925 | Заглушка | 2 | |||
| key | PART NO. | PART NAME | QTY | SERIAL NO. | REMARKS | |
| 11 | 19M7168 | Винт с головкой | 1 | M10 X 30 | ||
| 12 | 14M7167 | Стопорная гайка | 1 | M10 |
| key | PART NO. | PART NAME | QTY | SERIAL NO. | REMARKS | |
|---|---|---|---|---|---|---|
| 1 | A93154 | Опора | 1 | |||
| 2 | A93115 | Кронштейн | 1 | |||
| 3 | A55881 | Втулка | 2 | |||
| 4 | 19M7361 | Винт с головкой | 1 | M12 X 50 | ||
| 5 | A31867 | Стопорная гайка | 2 | |||
| 6 | 19M7658 | Винт с головкой | 2 | M10 X 50 | ||
| 7 | 19M7396 | Винт с головкой | 1 | M16 X 45 | ||
| 8 | 14M7274 | Гайка | 2 | M10 | ||
| 9 | A31869 | Стопорная гайка | 1 | |||
| 10 | AA71437 | Амортизатор | 1 | |||
| key | PART NO. | PART NAME | QTY | SERIAL NO. | REMARKS | |
| 11 | 14M7747 | Гайка | 1 | M22 | ||
| 12 | W51618 | Самофиксирующийся винт | 1 | |||
| 13 | A93116 | Кулиса | 1 | |||
| 14 | A93117 | Распорная втулка | 2 | |||
| 15 | 19M7835 | Винт | 2 | M10 X 35 | ||
| 16 | 14M7518 | Фланцевая гайка | 2 | M10 | ||
| 17 | A88076 | Коленчатый патрубок | 1 | End | ||
| 18 | A89893 | Тройник | 1 | Inner | ||
| 19 | 19M7362 | Винт с головкой | 1 | M12 X 55 |